Perforated Bipole Electrochemical Reactor
Advanced Electrochemical Reactor for Sustainable Hydrogen Peroxide Production
This patented electrochemical reactor represents a significant advancement in the clean and efficient production of hydrogen peroxide (H₂O₂). Designed around the innovative use of perforated bipolar electrodes, this system enables high-performance electrosynthesis of alkaline peroxide solutions through the controlled electroreduction of oxygen.
This patent describes an electrochemical reactor that uses electricity to turn oxygen into hydrogen peroxide, especially in alkaline (basic) liquid solutions. Hydrogen peroxide (H₂O₂) is a chemical commonly used for cleaning, disinfecting, bleaching, and even environmental cleanup.
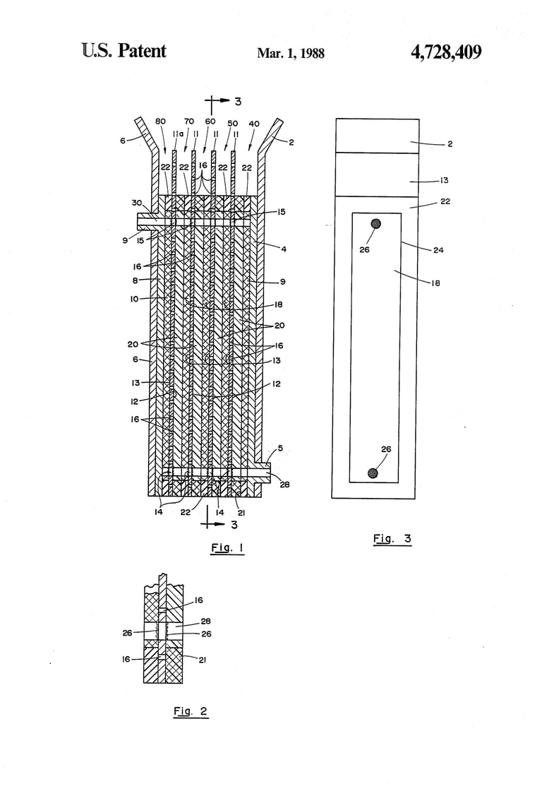
What makes this device different is that it uses special hole-filled electrodes—called perforated bipolar electrodes—that are designed to be more efficient than older types.
Key Technical Advantages
Perforated Bipolar Electrode Design
Allows gas bubbles to escape through the electrode structure, mitigating performance issues caused by gas accumulation (such as local overheating, non-uniform currents, and corrosion).Compact and Scalable Architecture
The modular nature of the reactor design supports scalable deployment, from lab-scale to industrial applications.This technology offers a low-carbon alternative to the conventional anthraquinone-based production of hydrogen peroxide, which typically requires centralized facilities and hazardous materials.
The reactor enables on-site, clean generation of H₂O₂ using only oxygen, water, and electricity—no toxic intermediates or complex logistics.
Environmental Benefits Include:
Elimination of hazardous chemical precursors
On-demand, decentralized production, reducing transportation and storage risks
Supports sustainable applications in water treatment, air purification, and industrial cleaning
Applications
Green hydrogen peroxide production
Advanced oxidation processes (AOPs)
Environmental remediation
Industrial wastewater treatment
Clean-in-place (CIP) systems in food and pharma sectors




Colin Oloman
Dedicated to chemical engineering solutions for climate change.
CONTACT
colinoloman@gmail.com
© 2025. All rights reserved.

